Nieuws

BREEK. Google-baasje bouwt vliegende auto

Google loopt graag voorop met nieuwe innovatieve projecten. Het verbaast ons dan ook niets dat mede-oprichter Larry Page honderden miljoenen in een revolutionaire vliegende auto heeft gestopt. En de EU legde wat euro's bij, zo te zien.

Herman Feitsma

De mysterieuze start-up Zee.Aero was de laatste jaren in nevelen gehuld. Aangezien het in 2010 opgerichte bedrijf vlakbij Google op de campus zit, ging de buitenwereld er van uit dat het een Alphabet-onderneming was, onderdeel van het geheimzinnige Google X, maar dit werd steevast ontkend. Terecht, naar nu blijkt, want het is een privéproject van oprichter Larry Page (niet te verwarren met de gitarist van Led Zeppelin). Zoals Elon Musk graag het wegverkeer met een Hyperloop ontwijkt, zoekt Page liever de lucht op, en de multimiljardair heeft zakken die diep genoeg zijn om zijn eigen droomproject te financieren. Makkelijk zelfs.

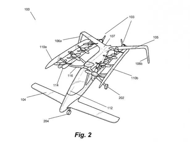
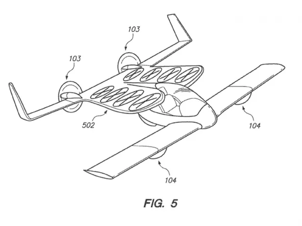
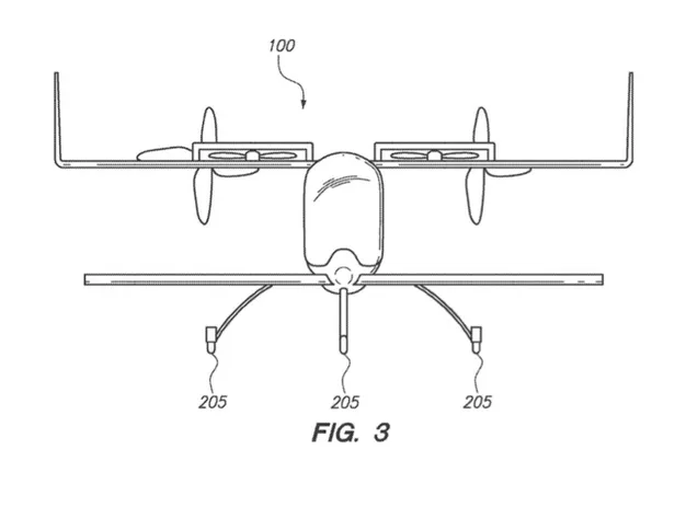
Als gezegd, over Zee.Aero was weinig bekend, afgezien van een mysterieus prototype dat af en toe - op rustige tijden - van een klein vliegveld in de buurt gespot werd. Achter de schermen werd er druk verder ontwikkeld, en inmiddels telt het bedrijf 150 werknemers. Bloomberg pakte vandaag uit met een groot verhaal omtrent Page's liefdesbaby. Op diverse patenttekeningen zien we een aantal hybride-modellen vol met rotoren die meer van een vliegtuig dan van een auto weg hebben, maar die kennelijk toch in staat zijn over de weg te rijden, en op relatief krappe plekken te parkeren. Afgaande op de afbeeldingen is de invloed van drones groot, te meer omdat sommige modellen in staat moeten zijn verticaal op te stijgen en te landen. Slim scharnierende onderdelen moeten helpen de oppervlakte en uitstekende onderdelen op de grond tot een minimum te beperken.

Waar Zee.Aero voor het engineering-gedeelte op zich neemt, doet een tweede bedrijf van Page, Kitty Hawk (gestart in 2015) de designkant. Kitty Hawk is vlakbij Aero.Zee gevestigd, maar de bedrijven opereren onafhankelijk van elkaar.In de uitgelekte plannen komen zowel volledig elektrische als autonome vliegtuigen voor, waarbij in de finale designs gedacht wordt aan een soort vliegende Uber, die mensen naar wens kunnen oproepen. Het bereik zou op 160 tot 320 km liggen. Klaarblijkelijk is autonome technologie een stuk makkelijker in de lucht te implementeren dan op de weg, en dat geloven we wel, want er zijn minder variabelen. Of het volk ook de vrees in een onbemand toestel te stappen kan overwinnen is een tweede, maar early adopters zal je altijd hebben.

Als we de hype mogen geloven staat de mobiliteitsbranche een gigantische vernieuwing te wachten de komende jaren. Hieronder enkele afbeeldingen van een ouder patent, wat vermoedelijk iets te krap is voor passagiers.

Voor de complete inhoud verwijzen we u graag naar de spread van Bloomberg. Pal-V en andere vliegende auto-startups lijken er een serieuze concurrent bij te krijgen. Want als iemand zo'n project kan realiseren.... Andere partijen die in de vliegende auto-game zitten, zoals Terrafugia, lijken samen te werken met hun nieuwe Google-overlord. Van Spykers nieuwe elektrische vliegvriendje Volta Volare is echter geen spoort te bekennen.