Honda patenteert schitterende uitvinding tegen de zon

De autowereld bestaat helaas niet alleen uit superlatieven van grootsheid. Er zijn ook kleine aardigheden die het leven voor de automobilist verbeteren. Honda begrijpt dat.

Al die praatjes over de vrijheid van de weg zijn allemaal schitterend, maar als de koperen ploert de schepping laag genoeg beschijnt, zie je helemaal niets van al die schoonheid. Zeker als het kort daarvoor heeft geregend, is de weg een spiegel en je zicht niet veel beter dan wanneer je tegen blinde muur staart die stadionlicht in je ook impregneert.

De oeroude oplossing tegen zulk geweld is de zonneklep. Maar die is vaak even effectief, invariabel en bruikbaar in de moderne tijd als een krantenabonnement. Iedereen gebruikt 'm, niemand is echt tevreden over zijn werking en nog minder mensen merken dat op. Honda wel. Die begrijpt dat een zonneklep, noch een blauwgetinte balk, voldoende afstelbaar zijn om de gouden gesel weerstand te bieden.

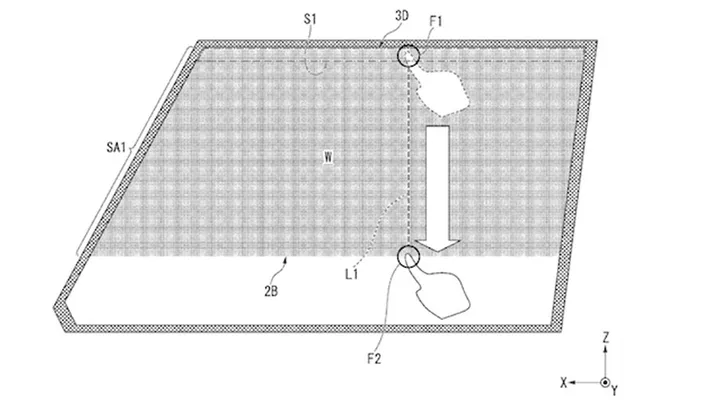
Daarom hebben ze een octrooi ingediend dat alles gaat verbeteren. Honda's raam werkt als volgt: door tactiel-dactyle foekiefoekie met je vinger sleep je raamsverduistering als het ware naar beneden. Dus je plant je fikken op het raam en schuift net zo lang tot die lichtgevende bol enigszins gedempt is. 

Dit is een te gek idee en zal universeel worden overgenomen, daarvan zijn wij zeker. Alleen heeft Honda er alles aan gedaan om de uitvinding te laten mislukken. Uit het octrooi blijkt nameijk dat manuele raamsverduistering alleen kan worden ingeschakeld of aangepast als de auto stilstaat. Dat is zoiets als airco alleen kunnen bedienen op een parkeerplaats. Gegeven de vaak vrij onmiddellijke noodzaak van vensterverduistering is dit alleen  nog dommer. Kom op, Honda, verneuk je eigen idee niet.