Je trouwe viervoeter uitlaten is meestal een leuke bezigheid, maar als Fido in verschrikkelijk weer of absolute vrieskou zijn behoefte moet doen geef je de riem liever aan iemand anders. Of iets anders. Toyota heeft voor dat scenario een even vreemde als creatieve oplossing bedacht: een robotisch platform speciaal voor het uitlaten van je hond. De Japanners hebben er meteen even een patent op aangevraagd.
/https%3A%2F%2Fcdn.pijper.io%2F2022%2F04%2Fnc8ZWaHfwUR3aj1649756201.jpg)
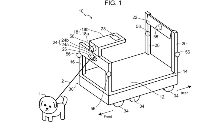
Toyotabot
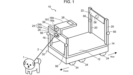
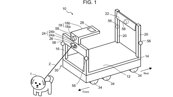
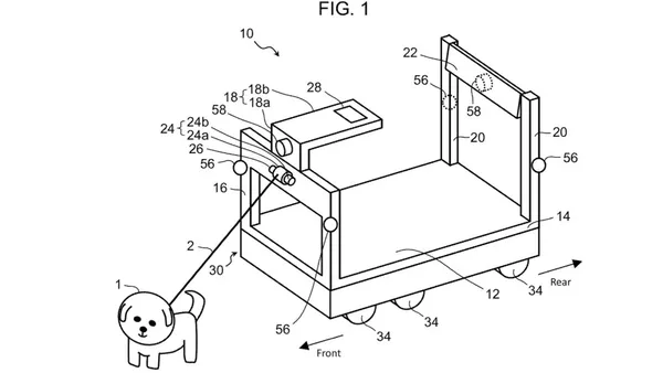
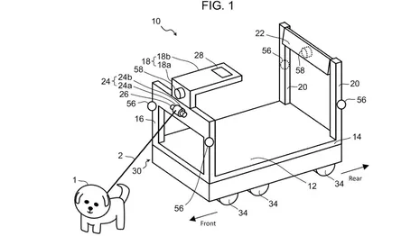
Toyota's idee neemt de vorm aan van een zeswielig platform met een opbouw aan elk eind. De riem is bevestigd aan een rol aan de voorkant van de machine en kan door de hond vrij uitgerold worden. Trekt het beestje te hard aan, dan trekt de robot de riem voorzichtig weer terug.
Via sensoren houdt het platform afstand tot je huisdier om te voorkomen dat je er onbedoeld een bloederig, slecht afgewerkt kleedje bij krijgt.
Wanneer de machine het idee krijgt dat de hond zich misdraagt door te hard aan de riem te trekken wordt de 'straf-modus' geactiveerd. Hierbij wordt de riem aangetrokken en stopt het platform totdat het beestje kalmeert.
/https%3A%2F%2Fcdn.pijper.io%2F2022%2F04%2FHDaKigNBwEPBC31649756290.jpg)
Uitlaten, opruimen, fotograferen
Via camera's houdt de machine de hond in de gaten en leert het 'pre-excretie gedrag'. Vrij vertaald: de robot leert wanneer je huisdier op het punt staat zijn behoefte te doen. Met een watersproeier spoelt de Toyotabot urine van de stoep. Zwaardere boodschappen worden opgepikt door een robotische arm en meegenomen naar de thuisbasis. Tijdens dat proces neemt de robot foto's van de daad, zodat het baasje zeker weet dat Rex later niet alsnog begint te zeuren.
Pootbediening
/https%3A%2F%2Fcdn.pijper.io%2F2022%2F04%2F4kiYGsgQ6gEbm41649758098.jpg)
De functies van de hondenrobot zijn tot zover allemaal vrij logisch. Toyota gaat echter nog even een paar stapjes verder. Het platform is namelijk voorzien van 'pootbediening'. Dat lees je goed: de hond kan met zijn poten zijn eigen uitlaatrobot besturen. Waarom het de Japanners een goed idee lijkt om honden die controle te geven is ons een raadsel.
Gelukkig is er ook ruimte voor een menselijke co-piloot op de achterste helft. Voor mensen die slecht ter been zijn kan het een ideale oplossing zijn om hun geliefde viervoeter uit te kunnen laten. Het feit dat diegene met zijn huisdier kan gaan vechten om de controle over de machine maakt elk uitstapje extra spannend.
/https%3A%2F%2Fcdn.pijper.io%2F2022%2F04%2FmRcMMmA59oSADm1649758121.jpg)
Proefballonnetje
Dat er een patent op zit wil natuurlijk nog niet zeggen dat Toyota serieuze plannen heeft om de uitlaatrobot te produceren. Het is niets meer dan een uitzinnig proefballonnetje. En dat is maar goed ook. We durven er niet aan te denken hoe chaotisch het dagelijks verkeer zal worden wanneer honden en baasjes massaal de straat op gaan met een gemotoriseerde winkelkar met dubbele bediening.
- Toyota